icon auto
Все о китайских авто
arrow

Bentley планирует сделать дрон из своего фирменного значка

ПОДЕЛИТЬСЯ

Bentley планирует сделать дрон из своего фирменного значка Фото: AutoGuide

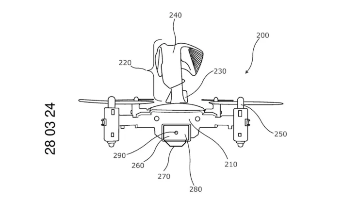
Патентные заявки Bentley указывают на разработку компанией дрона, предназначенного для использования в своих автомобилях. Как пишет AutoGuide, дрон будет базироваться на логотипе компании Flying B, передает Tengri Auto.


Патентные заявки Bentley указывают на разработку компанией дрона, предназначенного для использования в своих автомобилях. Как пишет AutoGuide, дрон будет базироваться на логотипе компании Flying B, передает Tengri Auto.

Дрон будет размещаться в передней части транспортного средства и сможет быть развернут как внутри, так и снаружи автомобиля. Ожидается, что он предложит множество полезных функций для владельцев. В документации Bentley отмечено, что дрон можно использовать для поиска альтернативных маршрутов в случае пробок, определения мест для парковки, вызова экстренных служб в случае аварии и даже для возвращения владельца к его автомобилю.

Фото: AutoGuide

Согласно документам, дрон будет заряжаться в док-станции, расположенной в капоте автомобиля, и не будет превышать вес в 250 граммов, что является максимально допустимым весом для незарегистрированного дрона. Хотя дрон будет оснащен пропеллерами для перемещения и зависания в различных предустановленных точках над автомобилем и рядом с ним, его форма не будет традиционной.

Фото: AutoGuide

Bentley планирует придать дрону форму "постамента" или "гроба", с подсветкой для посадочной площадки, самого дрона и, конечно же, логотипа на вершине. Владельцы смогут управлять дроном со своих телефонов, планшетов или компьютеров, а также через информационно-развлекательную систему автомобиля. Как именно будет происходить посадка дрона, пока не уточняется, но посадка дрона над автомобилем стоимостью в шесть цифр вызывает некоторые сомнения. Учитывая, что это всего лишь патентная заявка, придется подождать, чтобы увидеть, как будет реализована эта идея.

Ранее мы рассказывали о том, что редчайший автокемпер Канье Уэста выставлен на продажу.

Еще больше интересных автоновостей смотрите в нашем Instagram и TikTok.

TengriAuto