Канадская оборонная компания Thoth Technology получила патент США на строительство космического лифта - башни, которая позволит поднимать на орбиту туристов и многотонные грузы, а также генерировать ветряную энергию. Об этом сообщает RT.
В отличие от ракет, путешествие в космос на космическом лифте не столь рискованно. Никаких перегрузок, акустических вибраций, тонн взрывоопасного топлива под сиденьем. По расчетам инженеров, лифт сэкономит 30 процентов топлива, по сравнению с ракетой.

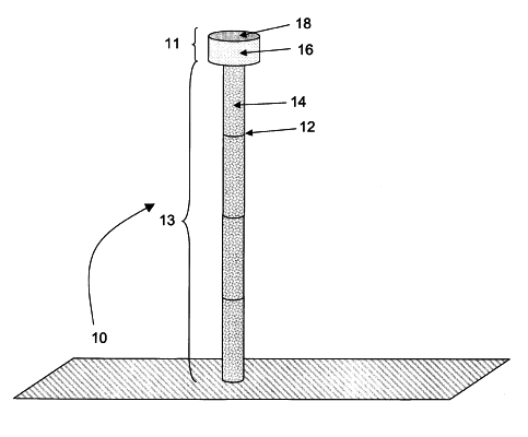
Конструкция будет сохранять жесткость благодаря сжатому газу. А для обеспечения динамической устойчивости планируется использовать надувные секции и маховики. На вершине башни установят стартовую площадку для запуска космических аппаратов.

Thoth Technology собирается построить первую башню высотой в 20 километров - это более чем в 20 раз выше самого высокого здания в мире (828-метровой Бурдж-Халифы в Дубаи). При этом в патенте говорится, что конструкция может в перспективе достигать высоты в 200 километров. Такая башня сможет предоставить прямой доступ в открытый космос.
Впервые строительство космических лифтов предложил российский ученый Константин Циолковский в 1895 году. Ученые и инженеры давно обсуждают, какие материалы использовать в строительстве, и какая конструкция предпочтительнее.