Компания Apple запатентовала обыкновенный бумажный пакет с гибкими ручками. Об этом говорится на сайте US Patent and Trademark Office.
Как выяснилось, патентная заявка была подана в марте этого года, однако стала доступна общественности только сейчас. В Apple называют свое новое изобретение просто "сумкой". Оно лишено каких-то высокотехнологичных приспособлений, вроде встроенного аккумулятора или Bluetooth-соединения.
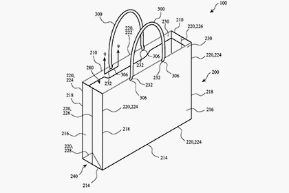
"Раскрывающийся бумажный пакет. Он может включать в себя контейнер, выполненный из твердой выбеленной бумаги и состоящий по меньшей мере на 60 процентов из перерабатываемых материалов", - говорится в заявке. Ручка пакета выполнена из бумажных волокон.

Фото с сайта pdfaiw.uspto.gov
Как утверждают авторы патента, большинство нынешних бумажных пакетов состоят менее чем на 50 процентов из перерабатываемых материалов, тогда как пакет Apple гораздо экологичнее.