Компания Apple запатентовала iPhone с двойным экраном, передает Tengrinews.kz со ссылкой на kod.ru.
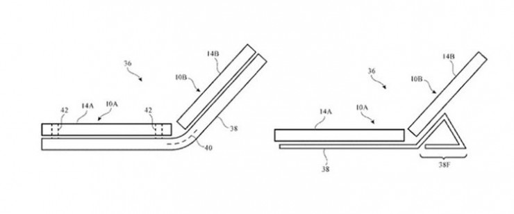
В патенте изображен iPhone с двумя экранами, которые при открытии будут создавать иллюзию одного большого дисплея. У смартфона нарисованы сверхтонкие рамки.

Также у нового смартфона в патенте указана система датчиков, которая поможет операционной системе подстроиться и отображать информацию корректно.
Appleinsider сообщает, что в феврале Apple запатентовала конструкцию, которая могла бы избавить складной смартфон от линий сгиба на экране. Компания хочет использовать шарнирный механизм, который позволит средней части дисплея как бы выступить наружу. Благодаря этому механизму на дисплее не будет видно складок. Однако новостной портал отмечает, что патент вовсе не значит, что устройство запустят в серийное производство.
Напомним, что в феврале компании Samsung и Motorola уже презентовали новые смартфоны, у которых два экрана. При сгибании смартфона создается иллюзия единого экрана.
В феврале Apple запатентовала полностью стеклянный iPhone.
Новости Казахстана. Сегодня и прямо сейчас. Видео и фото. Подписывайся на @tengrinews в Telegram